
中证智能财讯 智慧农业(000816)4月29日披露2023年第一季度报告。报告期内公司实现营业总收入2.68亿元,同比下降26.65%;归母净利润486.15万元,同比下降28.65%;扣非净利润19.61万元,同比下降93.08%;经营活动产生的现金流量净额为-7560.85万元,上年同期为-1.96亿元;报告期内,智慧农业基本每股收益为0.0034元,加权平均净资产收益率为0.23%。

数据显示,2023年一季度,公司毛利率为13.83%,同比上升4.91个百分点,环比下降8.31个百分点;净利率为1.23%,较上年同期下降0.39个百分点,较上一季度上升17.89个百分点。

2023年一季度,公司加权平均净资产收益率为0.23%,同比下降0.08个百分点,环比上升2.67个百分点。

截至2023年一季度末,公司经营活动现金流净额为-7560.85万元,同比增加12051.30万元,环比增长883.74万元,主要系本期因采购付款减少,经营现金流出减少所致;筹资活动现金流净额-5715.70万元,较上年一季度末增长407.41万元;投资活动现金流净额-286.06万元,上年同期为9862.92万元,主要因为本期收回投资减少所致。

2023年一季度,公司营业收入现金比为87.62%,净现比为-1555.26%。

资产重大变化方面,截至2023年一季度末,公司货币资金较上年末减少31.25%,占公司总资产比重下降3.51个百分点;应收账款较上年末增加57.93%,占公司总资产比重上升2.91个百分点;存货较上年末增加24.72%,占公司总资产比重上升1.74个百分点;固定资产较上年末减少1.50%,占公司总资产比重下降0.91个百分点。

负债重大变化方面,截至2023年一季度末,公司应付账款较上年末增加33.02%,占公司总资产比重上升2.82个百分点;短期借款较上年末增加32.86%,占公司总资产比重上升0.39个百分点;合同负债较上年末减少28.38%,占公司总资产比重下降0.28个百分点;其他流动负债较上年末增加4.28%,占公司总资产比重上升0.01个百分点。

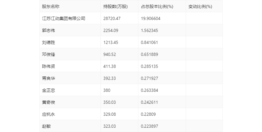
2023年一季度末的公司十大流通股东中,新进股东为应杭永、赵敏,取代了此前的钱亚萍、毛东升。在具体持股比例上,郭志伟、陈伟贤持股有所上升,江苏江动集团有限公司、刘德胜、邓俊锋、胥良华、金正忠、黄奇俊持股有所下降。

筹码集中度方面,截至2023年一季度末,公司股东总户数为12.45万户,较上年末增长了1.08万户,增幅9.47%;户均持股市值由2022年末的4.63万元下降至4.32万元,降幅为6.70%。



