
中证智能财讯 智慧农业(000816)8月22日披露2023年半年度报告。2023年上半年,公司实现营业总收入7.13亿元,同比增长3.34%;归母净利润860.57万元,同比下降63.40%;扣非净利润289.79万元,同比下降79.48%;经营活动产生的现金流量净额为-7552.73万元,上年同期为-1.36亿元;报告期内,智慧农业基本每股收益为0.006元,加权平均净资产收益率为0.40%。
报告期内,公司合计非经常性损益为570.79万元,其中计入当期损益的政府补助(与公司正常经营业务密切相关,符合国家政策规定、按照一定标准定额或定量持续享受的政府补助除外)为471.19万元,少数股份权益影响额为-22.08万元。
以8月21日收盘价计算,智慧农业目前市盈率(TTM)约为-110.3倍,市净率(LF)约为2.06倍,市销率(TTM)约为3.62倍。

公司近年市盈率(TTM)、市净率(LF)、市销率(TTM)历史分位图如下所示:



根据半年报,公司第二季度实现营业总收入4.45亿元,同比增长37.03%,环比增长66.27%;归母净利润374.43万元,同比下降77.58%,环比下降22.98%;扣非净利润270.18万元,同比下降76.06%,环比增长1278.09%。

资料显示,公司致力于成为家用及户外动力/电力设备综合服务商,以及多品种金属精矿供应商;同时辅以贸易业务和现代农业生产整体解决方案提供。
分产品来看,2023年上半年公司主营业务中,动力及终端产品收入5.22亿元,同比增长2.07%,占营业收入的73.15%;零部件收入1.16亿元,同比增长33.40%,占营业收入的16.20%;金属矿产品收入0.65亿元,同比下降20.12%,占营业收入的9.07%。
2023年上半年,公司毛利率为10.64%,同比下降1.92个百分点;净利率为0.70%,较上年同期下降3.50个百分点。从单季度指标来看,2023年第二季度公司毛利率为8.73%,同比下降7.93个百分点,环比下降5.10个百分点;净利率为0.38%,较上年同期下降6.71个百分点,较上一季度下降0.85个百分点。

分产品看,动力及终端产品、零部件、金属矿产品2023年上半年毛利率分别为10.04%、18.76%、-9.24%。
数据显示,2023年上半年公司加权平均净资产收益率为0.40%,较上年同期下降0.68个百分点;公司2023年上半年投入资本回报率为0.19%,较上年同期下降0.92个百分点。

2023上半年,公司经营活动现金流净额为-7552.73万元,同比增加6086.73万元,主要系本期因采购付款减少引起的经营现金流出同比减少所致;筹资活动现金流净额1713.87万元,同比增加262.46万元;投资活动现金流净额-6253.72万元,上年同期为1.26亿元,主要系本期因收回投资减少所致。
进一步统计发现,2023年上半年公司自由现金流为-1.09亿元,上年同期为-0.50亿元。

2023年上半年,公司营业收入现金比为121.24%,净现比为-877.64%。

2023年上半年,公司期间费用为7098.00万元,较上年同期增加1502.37万元;期间费用率为9.95%,较上年同期上升1.84个百分点。其中,销售费用同比增长99.2%,管理费用同比增长9.35%,研发费用同比下降58.01%,财务费用由去年同期的-621.87万元变为-410.47万元。
资料显示,销售费用的变动主要因为本期业务模式变更, J DNA销售费用增加;财务费用的变动主要因为本期汇兑收益较上期减少。

资产重大变化方面,截至2023年二季度末,公司货币资金余额较上年末减少28.59%,占公司总资产比重下降3.34个百分点,主要系本期经营活动现金流的支出导致货币资金的减少;应收账款较上年末增加46.17%,占公司总资产比重上升2.19个百分点,主要系J DNA应收客户账款增加,该账款处于信用期内;固定资产较上年末减少2.41%,占公司总资产比重下降1.38个百分点;无形资产较上年末减少1.82%,占公司总资产比重下降1.21个百分点。

负债重大变化方面,截至2023年二季度末,公司短期借款较上年末增加25.67%,占公司总资产比重上升0.28个百分点;应付账款较上年末增加1.51%,占公司总资产比重下降0.24个百分点;合同负债较上年末减少12.31%,占公司总资产比重下降0.15个百分点;其他流动负债较上年末增加7.13%,占公司总资产比重上升0.03个百分点。

偿债能力方面,公司2023年二季度末资产负债率为28.38%,相比上年末增加2.43个百分点;有息资产负债率为1.75%,相比上年末增加0.27个百分点。

2023年上半年,公司流动比率为1.29,速动比率为0.93。

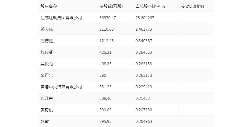
半年报显示,2023年上半年末的公司十大流通股东中,新进股东为吴俊龙、香港中央结算有限公司、徐开东,取代了一季度末的邓俊锋、胥良华、应杭永。在具体持股比例上,江苏江动集团有限公司、陈伟贤持股有所上升,郭志伟、刘德胜、金正忠、黄奇俊、赵敏持股有所下降。

筹码集中度方面,截至2023年二季度末,公司股东总户数为12.19万户,较一季度末下降了2611户,降幅2.10%;户均持股市值由一季度末的4.32万元下降至3.98万元,降幅为7.87%。

指标注解:
市盈率
=总市值/净利润。当公司亏损时市盈率为负,此时用市盈率估值没有实际意义,往往用市净率或市销率做参考。
市净率
=总市值/净资产。市净率估值法多用于盈利波动较大而净资产相对稳定的公司。
市销率
=总市值/营业收入。市销率估值法通常用于亏损或微利的成长型公司。
文中市盈率和市销率采用TTM方式,即以截至最近一期财报(含预报)12个月的数据计算。市净率采用LF方式,即以最近一期财报数据计算。
市盈率为负时,不显示当期分位数,会导致折线图中断。


